一种神经内科诊疗辅助装置

授权公告:
CN114376853B
授权公告日:
2024.03.01
申请号:
2022100776657
申请日:
2022.01.24
同一申请的已公布的文献号:
CN114376853A
申请公布日:
2022.04.22
专利权人:
李培培
地址:
河南省商丘市睢阳区凯旋南路292号商丘市第一人民医院
发明人:
李培培,曹飞,吕小兰,赵娜
分类号:
A61G15/00(2006.01)I;A61G15/10(2006.01)I;A61G15/12(2006.01)I;A61H9/00(2006.01)I;A63B23/12(2006.01)I;A63B23/14(2006.01)I;A63B21/05(2006.01)I
专利代理机构:
重庆创新专利商标代理有限公司50125
专利代理师:
赵涛
对比文件:
"AU 2002301672 A1,2004.05.20; CN 104921903 A,2015.09.23; CN 105997420 A,2016.10.12; CN 107714384 A,2018.02.23; CN 109528170 A,2019.03.29; CN 110584949 A,2019.12.20; CN 112336367 A,2021.02.09; CN 213822380 U,2021.07.30; CN 214018366 U,2021.08.24; CN 214762150 U,2021.11.19; CN 215349866 U,2021.12.31; DE 10001329 A1,2001.07.26; JP 2007117715 A,2007.05.17 s"
邝晓;王小琳;刘文燕;.一种改良型固定装置在CT增强检查中手臂体位安置的临床应用效果分析.影像研究与医学应用.2020,(第16期),全文.;尹婷婷;张华华;仲美华;.高度可调的头部引流袋固定架的应用.当代护士(中旬刊).2018,(第07期),全文.;武杰;袁杭英;欧阳蓓蕾;.内旋式放射治疗用面罩固定装置的设计.中国医学物理学杂志.2015,(第02期),全文.
摘要:
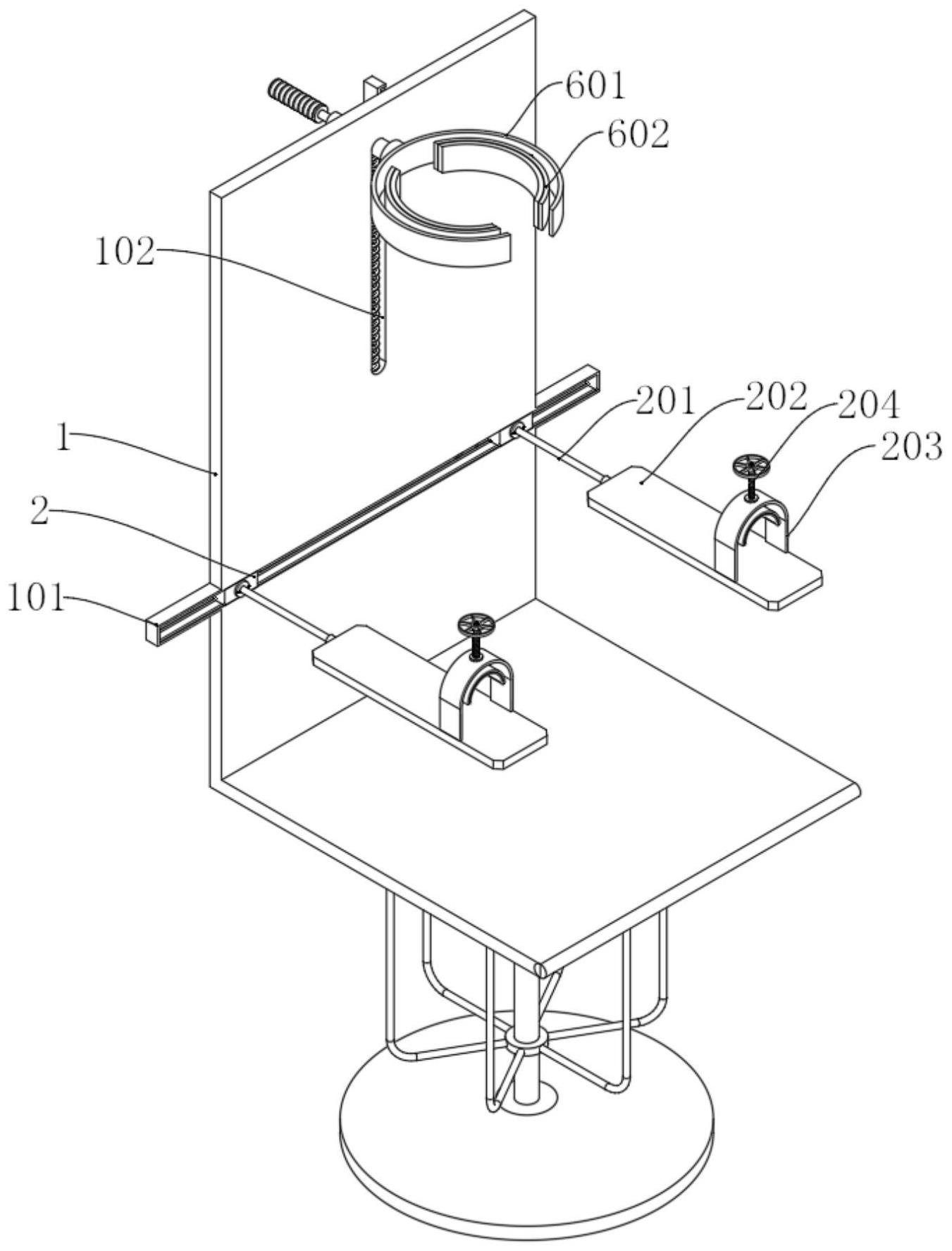
本发明属于医疗器材技术领域,且公开了一种神经内科诊疗辅助装置,所述辅助座椅的后侧底部设置有导向框,且所述辅助座椅的后侧顶部开设有导向槽;所述导向框的内部滑动安装有两个滑块,两个所述滑块的前端均设置有连接杆;两个所述连接杆的前端均设置有托板;两个所述托板的顶部前侧均设置有套板;两个所述套板的顶端均设置有螺纹调节杆,且两个螺纹调节杆的底端均设置有束腕板;所述辅助座椅的后侧滑插安装有推杆。本发明通过向下拉动滑柱,使其带动束头件下降,使束头件的高度可根据患者头部处于的位置进行调节,有效的避免了因患者的身高过矮或过高,导致患者坐下时头部高度与束头件的高度相差过远,致使束头件无法对患者的头部进行固定。
摘要附图